Cookies Helpen ons om een betere diensten te kunnen verlenen. Als je gebruik wilt maken van onze diensten stem je toe om cookies te gebruiken
- Startpagina /
- Gevel /
- Thermowood /
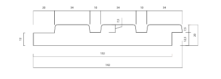
- Thermowood Triple Ayous 4200x142x20 (nuttig 132mm)
GRATIS Dampscherm bij aankoop van 100m² KNAUF Multifit Glaswol!
